Корпус инкубатора представляет собой утепленную коробку. Можно взять любую коробку, снабдить ее терморегулятором и нагревателем – получится инкубатор. Однако в таком инкубаторе будет маленький вывод цыплят с большим количеством «задохликов». Лучше всего для инкубатора использовать готовый корпус из холодильника. Здесь описывается изготовление инкубатора из корпуса бытового холодильника типа «Полюс», «Ока» и т.п. Интересен вариант инкубатора из корпуса двух- трех камерных корпусов. Тогда в морозильных отделениях можно сделать выводные инкубаторы, что позволяет увеличить оборот инкубатора. Прежде всего, необходимо демонтировать внутреннюю начинку холодильника. Срезать пластмассовые выступы для полок, а образовавшиеся отверстия закрыть куском ДВП, вставленного под обшивку.

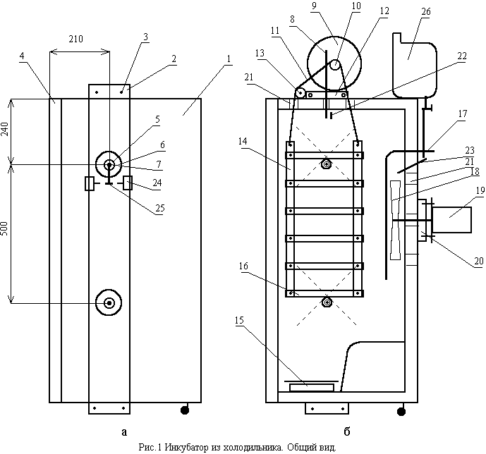
На рис. 1 показан общий вид инкубатора. Для придания жесткости, к корпусу холодильника 1 прикрепляются две доски 2 (150х20хH) из плотного материала (лучше дуб) так, как показано на рисунке 1а. Снизу доски соединяются брусками и сбиваются гвоздями или прикручиваются длинными шурупами. Сверху доски прикручиваются болтами 3 к несущей рамке 12 сваренной из уголка 20х20. В доске делается небольшое углубление под фланцы 6. Фланцы 6 крепятся к доске и корпусу 1 двумя болтами. В центр фланца запрессовывается подшипник 5 под ось 7 диаметром 10 мм. Для предотвращения смещения оси 7 при вращении ее края зафиксированы двумя гайками, затянутыми друг на друга. На правый край верхней оси вставляется втулка с резьбой. Втулка крепится к оси длинным болтом 25, головка которого замыкает концевые датчики 24. Концевые датчики 24 крепятся шурупами к доске с возможностью регулировки и располагаются в зависимости от угла поворота лотков (обычно 90 градусов). На оси 7 вставляется блок подлотковых рамок 16 (рисунок 1б). К верхней и нижней рамке по центру приварены две направляющие втулки Ф20 (рис.2б), на которых имеются отверстия с резьбой М6.

Болтами рамки крепятся к оси 7, на которой в месте крепления сделаны спилы, чтобы не было проворота рамок. Рамки между собой соединены тягой 14. В тяге имеются отверстия через 100 мм без резьбы для свободного прохождения болта М6. По краям каждой рамки имеются аналогичные отверстия. На краях болтов сверлится отверстие под шпильку (гвоздь). Соединение рамок и тяг 14 необходимо делать через шайбы. Шплинтовать лучше со стороны противоположной установке лотков (наружной). Верхняя и нижняя рамки имеют полный периметр из уголка 20х20 рис. 2 а. Такая же рамка может стоять и в середине. Остальные рамки состоят из двух боковых полурамок, с длинной выступов - 30 мм. Эти выступы необходимы для удержания лотков в крайних положениях углов поворота. В верхние отверстия левых тяг заправляется трос 11 Ф2-3 мм. С передней стороны трос проходит через небольшой блок 13. Под прохождение троса через корпус в нем сделаны отверстия 21, которые одновременно являются и вентиляционными. Трос закрепляется на валу 10 двигателя 9 так, чтобы не было перехлеста при реверсивном вращении. Двигатель поворота лотков 9 крепится болтами к рамке 12. На рамку 12 устанавливается блок электроники и панель управления . Вверху корпуса 1 сверлятся два отверстия под плотную установку термометра 8 и прохождение терморезистора 22.
На задней стенке корпуса 1 установлен двигатель 19 вентилятора 18. К корпусу 1 двигатель 19 крепится шпильками через усилительную доску 20. Вокруг лопастей вентилятора 18 устанавливается ТЭН 17 (см. рис.3). Т. В местах прохождения через корпус ТЭН 17 изолируется асбестовым шнуром. ТЭН можно согнуть, если внутри его изоляторами служит асбест, а не керамика. Радиус изгиба нужно делать около 100 мм. Если ТЭНа нет, то против вентилятора натягиваются нагревательные спирали (или просто проволока «нихром») от плитки общей мощностью 1 – 3 кВт. При использовании фазоимпульсного регулирования температуры спираль полностью нагревается в момент первого включения, да и то кратковременно. Поэтому спираль можно натягивать на рамку из стеклотекстолита. За лопастями вентилятора в корпусе сделаны два вентиляционных отверстия 21 Ф40. Поскольку внутри корпуса холодильника утеплителем, как правило, служит стекловолокно, то во все вентиляционные отверстия необходимо плотно вставлять изолирующие кольца (кусок пластмассовой трубы). Это необходимо, чтобы в дыхательные пути цыплят не попала стекловата. В холодильниках есть штатный желоб для отвода воды при оттаивании. Желоб 23 необходимо установить в обратном направлении для подачи воды на лопасти вентилятора во время вывода цыплят. Вода в желоб в капельном режиме поступает из пластмассовой канистры 26.
Лотки, емкостью 60 куриных яиц, изготовлены из прутка 6мм. Размер лотка 380х300х50. Каркас можно сварить, можно свинтить винтами М3. Каркас лотка обтягивается сеткой. У меня сетка сплетена из рыболовной лески 0,5 – 0,8 мм. Можно взять любую сетку с мелкой ячейкой. Может подойти сетка от мух, но не штампованная, а плетенная. Ее надо усилить рыболовной леской так, чтобы лоток без прогиба выдерживал вес в 5 кг. Хорошая сетка из капроновой нити, но в первое время она сильно вытягивается. Сетка из рыболовной лески хороша тем, что легко моется и поддается дезинфекции. Верхний лоток имеет двойную высоту и емкость. Поэтому он имеет скошенный передний край так, чтобы при повороте лоток не касался двери.
На дно инкубатора устанавливается емкость15 с водой. Емкость 15 закрывается деревянной рамкой с натянутой на нее сеткой. Это необходимо, чтобы при выводе цыплята не утонули при случайном падении. За 3 дня до вывода цыплят, лотки устанавливаются в горизонтальное положение, автоматика отключается. В это время лотки со стороны вентилятора закрываются сеткой от мух. Во время инкубации каждый лоток закрывается натянутой сеткой, для предотвращения выпадения яиц.
Если на двери холодильника нет
магнитного уплотнителя (корпус-то старый), закрепите по
периметру
тарную дощечку и оклейте ее поролоном толщиной 10 мм. Замок
двери
можно сделать любым, но надежным. У меня в торец двери
вкручены два
болта напротив болтов крепления фланцев, и дверь стягивается
двумя
растяжками, накинутыми на эти болты. Вместо растяжек можно
изготовить крючки. Для наблюдения за выводом цыплят в двери
делается
вырез на всю высоту лотков шириной 100 мм. В вырез на
шурупах
закрепляется деревянная рамка с пазами под стекло. Двойное
остекление делается обычным способом, т.е. под штапики. Во
время
инкубации смотровое окно должно быть закрыто плотной тканью.
Для
шторки надо предусмотреть направляющие. Для подсветки во
время
наблюдения в правом верхнем углу корпуса 1 устанавливается
патрон
типа «миньон» под лампу мощностью 15 ватт. С левой стороны
корпуса
устанавливается бытовой выключатель света. Детали с
пропущенными
размерами изготавливаются по месту с учетом размеров корпуса
холодильника.
Заец П. И.
Пропорциональный термостабилизатор для
инкубатора

Этот терморегулятор использует вертикально-фазовый метод регулирования мощности в нагревательном элементе. На компараторе VT1 сравниваются сдвинутое на 90 эл.градусов напряжение со вторичной обмотки трансформатора Тр1 и постоянное напряжение разбаланса моста, усиленное дифкаскадом VT4, VT5, через повторитель VT3. В момент равенства сигналов, через усилитель мощности VT2, ток управления открывает тиристор VD4. Терморезистор R12 находится в корпусе инкубатора, в месте закладки яиц, и защищен от лучевого излучения нагревателя. Благодаря обратной связи через терморезистор температура воздуха в инкубаторе стабилизируется. В отличие от ключевых схем, изменение мощности в нагревательном элементе пропорционально величине отклонения температуры. Регулятор использует один полупериод сетевого напряжения, поэтому мощность нагревателя (обычно используют лампы накаливания) необходимо увеличить вдвое, по отношению к достаточной для достижения заданной температуры в вашей конструкции инкубатора. При первичном включении инкубатора процесс установления рабочей температуры носит колебательный затухающий характер, из-за инерционности обратной связи через воздух и термодатчик. После прогрева происходит захват и пропорциональное регулирование. Из-за гальванической связи с питающей сетью схему необходимо изолировать от пользователя (и терморезистор то-же).
Не спешите закладывать яйца - дайте поработать инкубатору хотя бы сутки, а вы за это время проградуируйте шкалу потенциометра с помощью лабораторного термометра. Да и неожиданный отказ ненадежных элементов чаще происходит в первые часы работы (справедливо для любых схем). При необходимости иметь большие пределы рабочей температуры, надо увеличить номинал потенциометра R14. При ином номинале терморезистора измените пропорционально элементы моста R9, R11, R14, R15. Максимальная мощность нагревателя определяется типом примененного тиристора. При установке более мощного тиристора необходимый ток управления подберите резистором R7. Небольшой радиатор для тиристора обычно необходим. Совпадение фаз управления и анодного напряжения тиристора добейтесь поменяв местами концы первичной обмотки Тр1, если он не открылся сразу при холодном датчике.
Шустиков Е. Г.




