|
Разработанное автоматическое зарядное устройство (АЗУ) позволяет заряжать малогабаритные аккумуляторы МРЗ-плееров. цифровых фотокамер, фонарей и т.д. от сети. Применение ею позволяет отказаться от нескольких зарядных устройств и производить полную разрядку аккумуляторов с поставленной задачей устранения "эффекта памяти", которым обладают просторно распространенные никель-кадмиевые (Ni-Cd) аккумуляторы. АЗУ реализует патент РФ на полезную модель №49900 от 04.08.2006 г. Прототипом для него послужило зарядное устройство из [1].
Основные особенности АЗУ обеспечиваются применением интегральной микросхемы TL431 (регулируемого стабилитрона) и использованием генератора переменного тока на основе реактивного элемента (в данном варианте — конденсатора). АЗУ обеспечивает зарядку "пальчиковых" аккумуляторов типоразмеров AAA и АА стабильным током 155 мА от сети (220 8, 50 Гц). Оно может использоваться и при меньших значениях напряжения сети с пропорциональным уменьшением зарядного тока. Стабильность зарядного тока всецело определяется стабильностью рис.1 питающего АЗУ переменного напряжения.В начале заряда батареи аккумуляторов светится сигнальный светодиод, перед окончанием зарядки он начинает мигать, а потом полностью выключается. АЗУ обеспечивает автоматическое снижение зарядного тока (не менее, чем на порядок) при достижении ЭДС заряженной батареи и световую индикацию этого режима.
В автономном режиме работы (без подключения к сети) производится автоматический разряд аккумулятора до напряжения приблизительно 0,6 В со световой индикацией процесса. При полностью заряженном аккумуляторе такой разряд начинается с тока примерно 200 мА.
Разряд всей батареи аккумуляторов нерационален, т.к. может усугублять не идентичность составляющих ее аккумуляторов.
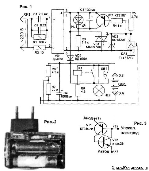
Схема АЗУ показана на рис.1. Устройство содержит:
- токоограничивающие конденсаторы С1. С2;
- резисторы защиты R1, R2;
- мостовой выпрямитель VD1;
- цепи регулирования и индикации СЗ, R3. HL1, R4, R5, VD3, DA1, VS1, VT1;
- развязывающий диод VD2;
- цепи заряда R6. R7| C4, G81;
- цепи разряда К1. R8. HL2. SB1. GB1. Работает АЗУ следующим образом.
Конденсаторы С1 и С2 для переменного тока являются реактивными балластными сопротивлениями и за счет этого обеспечивают ток примерно 155 мА. Для разрядки конденсаторов после выключения устройства служит резистор R1, шунтирующий конденсаторы. Резистор R2 сдерживает амплитуду пускового тока при включении АЗУ и служит своеобразным предохранителем при возможном электрическом пробое конденсаторов С1 или С2. Выпрямляет переменный ток диодный мост VD1.

Главным звеном цепи регулирования является микросхема управляемого стабилитрона DA1. Она "открывается" при стабильном напряжении 2,5 В на управляющем входе 1, обеспечивая включение симистора VS1. Управляющее напряжение для DA1 получается из напряжения батареи G81 на резистивном делителе R1-R2. Делитель настроен на заряд батареи из двух "пальчиковых" аккумуляторов. Конденсатор С4 фильтрует напряжение в цепи заряда и сдерживает его при переходных процессах заряда конденсаторов С1, С2 (например, при включении АЗУ без нагрузки).
При открывании VS1 весь ток заряда аккумуляторов замыкается через него, развязывающий диод VD2 закрывается, а мощность, потребляемая АЗУ от сети, уменьшается. Светодиод HL1 цепи индикации не светится, сигнализируя о заряженности аккумуляторов. Эти процессы повторяются в каждом полупериоде питающего напряжения, поэтому для гашения вспышек светодиода HL1 в начале полупериодов используется фильтр нижних частот R3-C3. Напряжение на СЗ не успевает достичь напряжения свечения светодиода, а после срабатывания DA1 включается транзистор VT1, разряжающий конденсатор СЗ. Стабилитрон VD3 обеспечивает защиту от перенапряжений на входе цепи заряда (ограничивает напряжение на уровне 9 8), например, при неисправности DA1.
Цепь разряда позволяет полностью разряжать и более того в некоторых случаях восстанавливать Ni-Cd аккумуляторы, обеспечивая их работу без ущерб емкости за счет "эффекта памяти" [2]. В той же статье рекомендуется проводить такие действия для отдельных аккумуляторов примерно через 30 циклов работы. Отмечу, что и более распространенные в настоящее час Ni-MH (никель-металлогидридные) аккумуляторы обладают "эффектом памяти", ко в существенно меньшей степени.
Разряд производится для одного аккумулятора. Вместо второго аккумулятора на час разряда устанавливается его короткозамкнутый габаритный макет. Нажимается кнопка SB 1, к аккумулятору подключается лампа HL2, и срабатывает реле К1, контакты которого блокируют кнопку Идет разряд аккумулятора. При напряжении на аккумуляторе приблизительно 0,6 В реле К1 размыкает свои контакты, и аккумулятор отключается от цепи разряда. Лампа HL2 обеспечивает индикацию разряда, а также способствует стабилизации разрядного тока. т.к. при уменьшении напряжения ее сопротивление падает.
В принципе, с помощью АЗУ можно зарядить и один полностью разряженный аккумулятор с использованием габаритного макета вместо второго. Для этого нужно контролировать час зарядки t в соответствии с зависимостью: 1=0.011С. (час) где С — емкость аккумулятора (мА-час).
Например, нужно зарядить аккумулятор емкостью 1000 мА час. Для этого его надобно подключить с помощью АЗУ к сети 220 В на час t=0,011 1000=11 (час). Автоматика и индикация АЗУ в этом случае не работают.
АЗУ собрано в корпусе зарядного устройства от мобильного телефона "Samsung A300" (рис.2). В корпусе для облегчения теплового режима просверлены отверстия диаметром 3 мм. На одну из сторон корпуса через угловую вставку приклеена стандартная аккумуляторная кассета на два аккумулятора типоразмера АА (для размещения цепи разряда). Новый узел с радиокомпонентами установлен вместо старого, причем для светодиода HL1 используется уже готовое отверстие (диаметром 3 мм) в корпусе. Плата для этого узла выполнена из термопластичной пластмассы, например, винипласта. Радиокомпоненты либо приклеены к ней, либо их выводы вплавлены в плату. Все клеевые соединения в АЗУ выполнены клеем 88НТ. Монтаж — навесной.
Самодельное реле К1 изготовлено на основе геркона КЭМ-2 (срабатывает при 15 А-виток). На корпус геркона надета полихлорвиниловая трубочка, на всю длину которой проводом ПЭЛ-1 00,12 мм намотана обмотка из 200 витков. Резистором R8 (рис. 1) подбирается напряжение отпускания реле К1 в пределах 0,6...1 В.
В АЗУ применены резисторы типа МПТ-0,125 (R1. R2 — МЛТ-0,25). пленочные конденсаторы К73-17 на 250 В (С1. С2). оксидные импортные конденсаторы на 10 В (СЗ, С4), бесцокольная миниатюрная пампа накаливания 3 В/0,1 А и ослепительный красный светодиод диаметром 3 мм. В устройстве могут быть использованы практически любые кремниевые маломощные транзисторы общего применения.
Найти тиристор с менеджментом по анодному р-п-переходу мне не удалось, поэтому применил симистор фирмы Motorola (VS1). Он может быть с успехом заменен транзисторным эквивалентом (рис.3). Замена экспериментально проверена.
Правильно собранное из исправных радиокомпонентов АЗУ требует только настройки напряжения срабатывания DA1 с помощью резистора R6. Резистор отключают от плюсовой шины и от отдельного источника подают постоянное напряжение 2.9 В на делитель R6-R7 (рис. 1). С установленной батареей аккумуляторов АЗУ подключают к сети и подбирают сопротивление R6 так, чтобы начала срабатывать микросхема DA1 (контролируют по свечению светодиода HL1 или с помощью осциллографа). После этого включают R6 на место и окончательно собирают конструкцию.
Элементы СЗ. R4. VD3 и VT1 можно удалить из схемы без изменения электрических характеристик АЗУ. т.к. они повышают лишь его надежность и удобство эксплуатации (обеспечивается лучшая сигнализация окончания зарядки аккумуляторов). Возможно исключение и конденсатора С2. При это немного уменьшится ток заряда.
Мой вариант АЗУ успешно эксплуатируется уже более года, в том числе, использовался для зарядки мобильного телефона. Для этого в него введены необходимые цепи. Для зарядки меньших аккумуляторов, типоразмера AAA, применяются простейшие переходники, обеспечивающие их контактирование в АЗУ. Кроме того, как уже говорилось, необходим короткозамкнутый габаритный макет аккумулятора типоразмера АА для работы с одним аккумулятором.
Внимание! Электрические цепи АЗУ связаны с сетью 220 В! При эксплуатации АЭУ нужно исключить касание токоведущих цепей!
Ссылки на схожие материалы:
|