Статья будет полезна тем, у кого слышны посторонние звуки, шумы в наушниках.
На сегодняшний день интегрированная звуковая карта в ноутбуке, нетбуке или материнской плате настольного ПК является нормой. Поэтому производители, ориентируясь на широкий круг потребителей, не заморачиваются с установкой высококачественных микросхем-кодеков и компонентов к ним, так как это влечет за собой увеличение стоимости устройства. Взамен этого, они обходятся стандартными, бюджетными решениями. Но есть и чисто технические причины: цифровые микросхемы и импульсные преобразователи напряжения (DC-DC), которыми напичканы системные платы, являются источником большого количества электромагнитных помех. И если для цифровой части звуковых модулей эти помехи не являются критичными, то качество работы аналогового тракта напрямую зависит от их воздействия. Именно в аналоговом тракте зарождаются все эти…
Шумы, пиканья, призвуки…
Наиболее часто эти посторонние звуки слышны в мобильных устройствах – ноутбуках и нетбуках. Их уровень никак не зависит от уровня громкости программного микшера, так как их природа исключительно аппаратного происхождения, зато их интенсивность может меняться в зависимости от загруженности ЦП или жесткого диска.
Если вы используете внешние колонки, то для минимизации шумов можно поступить следующим образом: выставляете громкость программного микшера вашей ОС и всех используемых при воспроизведении плееров на максимум, и в дальнейшем используете только регулятор громкости колонок. Но что делать с наушниками, подключаемыми напрямую к ноутбуку или нетбуку?
Не совсем тишина…
Если при подключении своих любимых наушников в ноутбук, вы слышите посторонние звуки, и они мешают сосредоточиться то можно кое-что предпринять. Для этого понадобится паяльник, пара разъемов и немного времени.
Чтобы было доступней, я буду объяснять на конкретном примере. У меня ноутбук Lenovo B560, при подключении наушников к нему слышен этот самый утомительный фон. При этом запаса громкости много. Редко когда громкость выводится до 40%. Так почему бы не использовать этот запас для улучшения отношения сигнал/шум? Для этого нужно лишь понизить уровень мощности подводимый к наушникам, тем самым снизив уровень как полезного сигнала, так и паразитного.
Так и родилось на свет это небольшое устройство, его можно назвать direct line по аналогии с direct box (не знаете что такое директ бокс, посмотрите здесь) Однако по сути – это низкоомный делитель мощности.
Характеристики:
Входное сопротивление: 25 (± 2)Ом (при использовании наушников с импедансом 18…32 Ома)
Ослабление сигнала: по мощности в 6 раз, что в децибелах составляет примерно 18 дБ.
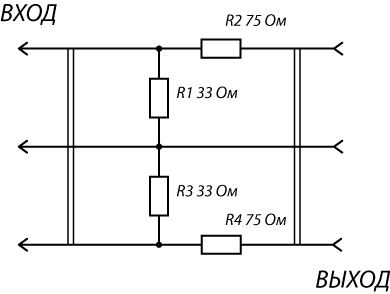
Для его изготовления понадобятся пара разъемов 3,5 мм «папа» и «мама», кусочек провода длиной 5…10 см и 4 резистора, 2х33 Ома и 2х75 Ом. Стоимость всех деталей китайского производства составляет 34 рубля. Но вы можете использовать и более качественные разъемы. Схема приведена на рисунке ниже:

Конструктивно устройство выполнено в виде двух разъемов соединенных проводом, резисторы спаяны прямо внутри разъемов, в каждом по два. В мои разъемы влезли резисторы мощностью 0,125 Вт, но можно использовать и менее мощные, малогабаритные резисторы 0,05 Вт. Устройство я делал для себя, поэтому процесс не был запечатлен на фото, но, думается мне, этих фото вполне достаточно, чтобы понять как все собрать. Входные резисторы на 33 Ома выполняют шунтирующую функцию, они имитируют низкоомную нагрузку, для того чтобы усилитель работал в корректном режиме.

Даже при использовании этого нехитрого устройства запас мощности остается на достаточном уровне. В моем случае шумы снизились до приемлемого уровня, теперь их практически не слышно и они не мешают работать.
Надеюсь кому-нибудь мой опыт пригодится, удачи!








