|
Как известно, проводниками тока считаются все металлы, соли и кислоты, щелочи и вода, ткани живого организма и т. д. К числу веществ, оказывающих не большое сопротивление электрическому току, относятся медь и алюминий. Из них, а также из их сплавов производятся провода.
Изоляторами, или изолирующими материалами, считаются фарфор и каучук, стекло и пластмасса, асбест, стеклотекстолит и изоляционная лента, особые виды картона и бумаги.
Выбор изолирующих материалов велик — у любого из них свои тех. данные. Потому используются они в зависимости от того, где и с какой целью станет применен изолятор, каково предназначение провода.
Провода разделяются на обмоточные и монтажные. Главные марки проводов следующие: АПВ, ПГВ, ПР, ПРТО, ШБПВ и т. д.
Принятые обозначения:
А — провод алюминиевый (если буквы А в обозначении нет, то маркируемый провод медный),
Б — провод бытовой;
В — поливинилхлоридная изоляция;
Г — провод гибкий;
О — изолированные провода, заключенные в общую оболочку или оплетку;
П — провод;
Р — изоляция резиновая;
Т — провод предназначен для прокладки в трубах.
После марки через дефис обозначается число проводов, а также их сечение. Например, АПВ — 1x2,5. Характеристика основных марок проводов приведена в табл. 1.



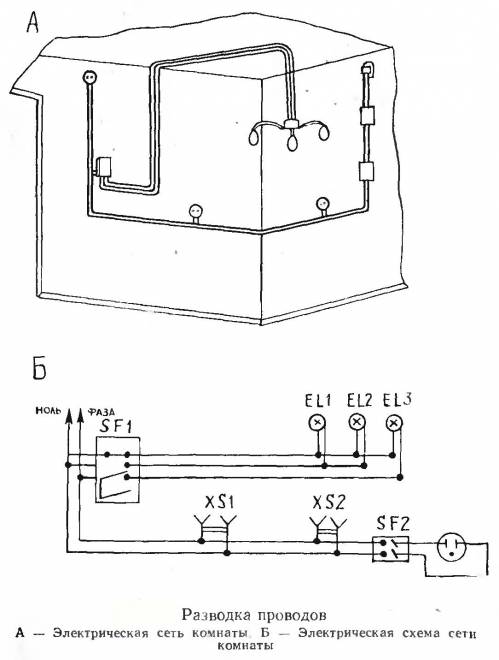
В сегодняшних квартирах внутренняя проводка спрятанная, то есть монтажные провода находятся под штукатуркой, в особых трубах и т. д., а штепсельные розетки, выключатели и распределительные (монтажные) коробки — в выдолбленных гнездах, как правило, заподлицо с оштукатуренной стеной.
Скрытая электропроводка имеет ряд положительных сторон: не обезображивает внешний вид жилплощади, не препятствует укладке или смене обоев, более долговечна и экономична. При этом провода имеется возможность укладывать по кратчайшему пути, не волнуясь о несоблюдении гармоничности и симметрии. Для внутренней электропроводки чаще всего применяют плоский провод с 2-мя токоведущими жилами в полихлорвиниловой изоляции.
Сечение проводов, ведущих к светильникам и выключателям обязано быть не менее 1 кв. мм; к обычным штепсельным розеткам ( светильник, утюг, электро пылесос, полотер и т. д.) - 1,5—2,5 кв. мм; к мощным домашним потребителям электричества (электрокамин, электроплита, морозильник и пр.) — 2,5—4 кв. мм.
Медный или алюминиевый провод в полихлорвиниловой изоляции характеризуется необходимой долговечностью и прочностью, высоким качеством изоляции. Его можно проводить под слоем штукатурки, не заключая в трубы.
В местах соединения концы проводов, по возможности, предпочтительнее всего припаивать друг к другу, а не лишь скручивать и тщательно изолировать: укладывать в полихлорвиниловую трубку и обматывать изолирующей лентой. Если проводку укладывают в трубу, то в ней располагают провод только одной цепи тока. Ни в коем случае в общей трубе не должны быть провода сильноточные (для освещения, подсоединения электронагревательных приборов) и слаботочные (для звукового сигнального устройства, телефонного аппарата).

К одной независимой сильноточной линии нельзя подключать больше 6 штепсельных розеток.
Порядок прокладки скрытой электропроводки следующий. Размечается наикратчайший путь, по которому пройдет электропроводка. Длинной рейкой и карандашом означают линии и обводят на стене участка месторасположения розеток, выключателей, светильников. Ежели необходимо установить одиночный потолочный светильник, то проводят добавочную линию, связывающую чаще всего середину потолка с наиблежайшей распределительной коробкой и стенным выключателем.

Выдалбливают канавки для внутренней проводки и отверстия, в которых будут находиться розетки и выключатели. Если стены и потолок оштукатурены, то в штукатурке в нужном направлении пробивается зубилом канавка шириной примерно 15 мм. В нее укладывается провод, который в нескольких местах (чтобы не выпадал во время монтажа) закрепляется гипсом или алебастром. После окончания работы необходимо заштукатурить канавки так, чтобы новая штукатурка была на одном уровне с оштукатуренной ранее стеной или потолком.
При прокладке полихлорвиниловых проводов под штукатурку рекомендуется закреплять их с помощью алебастра или гипса. Следует избегать закрепления провода с помощью гвоздей, так как от мокрой штукатурки гвозди ржавеют, в результате чего может быть повреждена и сама изоляция.
Полихлорвиниловый провод удобен для монтажа работ и на неоштукатуренных стенах, потолке кирпичных (шлакобетонных) домов. Его можно уложить в расчищенный и углубленный продольный шов между кирпичами или же протянуть поверх стены возле потолка, закрепив в нескольких местах алебастром или гипсом.
Все ответвления и спуски монтируются в соединительных (распределительных) коробках (дозах), места для которых, как и для штепсельных розеток и выключателей, после разметки выдалбливаются в стене.
После прокладки проводов их оголенные концы соединяются в распределительных коробках. По возможности их спедует не только связывать скруткой, но и припаивать. Места соединения тщательно изолируют лентой, а коробку закрывают крышкой.
Способы соединения одножильных и двужильных проводов показаны на рисунках.
Если стены в доме тонкие или деревянные, то провода в полихлорвиниловой изоляции можно прокладывать открытым способом, прибивая их гвоздями (20—30 мм), строго следуя осевой линии двужильного провода. При этом нужно соблюдать осторожность, чтобы не повредить изоляцию жил. Отверстия по центру наносят аккуратно и точно с помощью пробойника соответствующего диаметра, а затем вбивают гвозди в размеченные отверстия. Можно закрепить провод в полихлорвиниловой изоляции и с помощью небольших хомутиков.
Своими силами можно заменить шнур и штепсельную розетку, выключатель и предохранитель, отремонтировать некоторые электроприборы.
Ссылки на схожие материалы:
|