|
Получение топлива из природного газа
Общее описание:
Получаемая при помощи данного описания жидкость - метанол (метиловый спирт). Метанол в чистом виде применяется в качестве растворителя и как высокооктановая добавка к моторному топливу, а также как самый высокооктановый (октановое число равно 150) бензин. Это тот самый бензин, которым заправляют баки гоночных мотоциклов и автомобилей. Как показывают зарубежные исследования, двигатель, работающий на метаноле, служит во много раз дольше чем при использовании обычного автобензина, мощность его повышается на 20% (при неизменном рабочем объеме двигателя). Выхлоп двигателя, работающего на этом топливе, экологически чист и при проверке его на токсичность вредные вещества практически отсутствуют.
Малогабаритный аппарат для получения этого топлива прост в изготовлении, не требует особых знаний и дефицитных деталей, безотказен в работе. Его производительность зависит от различных причин, в том числе и от габаритов. Аппарат, схему и описание сборки которого предлагаем вашему вниманию, при Д=75мм дает три литра готового топлива в час, имеет вес около 20 кг, и габариты приблизительно: 20 см в высоту, 50 см в длину и 30 см в ширину.
Внимание: метанол является сильным ядом. Он представляет собой бесцветную жидкость с температурой кипения 65оС, имеет запах, подобный запаху обычного питьевого спирта, и смешивается во всех отношениях с водой и многими органическими жидкостями. Помните о том, что 30 миллилитров выпитого метанола смертельны!
Принцип действия и работа аппарата:
Водопроводная вода подключается к «входу воды» (15) и, проходя далее, разделяется на два потока: один поток через краник (14) и отверстие (С) входит в смеситель (1), а другой поток через краник (4) и отверстие (Ж) идет в холодильник (3), проходя через который вода, охлаждая синтез-газ и конденсат бензина, выходит через отверстие (Ю).
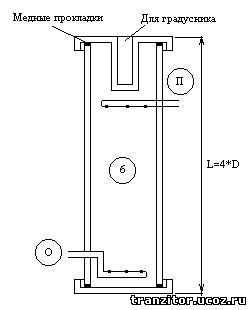
Бытовой природный газ подключается к трубопроводу «Вход газа» (16). Далее газ входит в смеситель (1) через отверстие (Б), в котором, смешавшись с паром воды, нагревается на горелке (12) до температуры 100 - 120оС. Затем из смесителя (1) через отверстие (Д) нагретая смесь газа и водяного пара входит через отверстие (В) в реактор (2). Реактор (2) заполнен катализатором №1, состоящим из 25% никеля и 75% алюминия (в виде стружки или в зернах, промышленная марка ГИАЛ-16). В реакторе происходит образование синтез газа под воздействием температуры от 500оС и выше, получаемой за счет нагрева горелкой (13). Далее нагретый синтез-газ входит через отверстие (Е) в холодильник (З), где он должен охладиться до температуры 30-40оС или ниже. Затем охлажденный синтез-газ через отверстие (И) выходит из холодильника и через отверстие (М) входит в компрессор (5), в качестве которого можно использовать компрессор от любого бытового холодильника. Далее сжатый синтез-газ с давлением 5-50 через отверстие (Н) выходит из компрессора и через отверстие (О) поступает в реактор (6). Реактор (6) заполнен катализатором №2, состоящим из стружки 80% меди и 20% цинка (состав фирмы «ICI», марка в России СНМ-1). В этом реакторе, который является самым главным узлом аппарата, образуется пар синтез-бензина. Температура в реакторе не должна превышать 270оС, что можно проконтролировать градусником (7) и регулировать краником (4). Желательно поддерживать температуру в пределах 200-250оС, можно и ниже. Затем пары бензина и не прореагировавший синтез-газ через отверстие (П) выходят из реактора (6) и через отверстие (Л) входят в холодильник (З), где пары бензина конденсируют и через отверстие (К) выходят из холодильника. Далее конденсат и не прореагировавший синтез-газ входят через отверстие (У) в конденсатор (8), где накапливается готовый бензин, который выходит из конденсатора через отверстие (Р) и краник (9) в какую-либо емкость.
Отверстие (Т) в конденсаторе (8) служит для установки манометра (10), который необходим для контроля давления в конденсаторе. Оно поддерживается в пределах 5-10 атмосфер или больше в основном с помощью краника (11) и частично краника (9). Отверстие (Х) и краник (11) необходимы для выхода из конденсатора не прореагировавшего синтез газа, который идет на рециркуляцию обратно в смеситель (1) через отверстие (А). Краник (9) регулируют так, чтобы постоянно выходил чистый жидкий бензин без газа. Лучше будет, если уровень бензина в конденсаторе будет увеличиваться, чем уменьшаться. Но самый оптимальный случай, когда уровень бензина будет постоянным (что можно проконтролировать путем встроенного стекла или какого-либо другого способа). Краник (14) регулируют так, чтобы в бензине не было /воды/ и в смесителе пара образовывалось лучше меньше, чем больше.
Запуск аппарата:
Открывают доступ газа, вода (14) пока закрыта, горелки (12), (13) работают. Краник (4) полностью открыт, компрессор (5) включен, краник (9) закрыт, краник (11) полностью открыт.
Затем приоткрывают краник (14) доступа воды, а краником (11) регулируют нужное давление в конденсаторе, контролируя его манометром (10). Но не в коем случае не закрывайте краник (11) полностью!!! Далее, минут через пять, клапаном (14) доводят температуру в реакторе (6) до 200-250оС. Затем чуть-чуть приоткрывают краник (9), из которого должна пойти струя бензина. Если она будет идти постоянно - приоткройте краник больше, если будет идти бензин в смеси с газом - приоткройте краник (14). Вообще, чем на большую производительность настроите аппарат, тем лучше. Содержание воды в бензине (метаноле) вы можете проверить с помощью спиртометра. Плотность метанола равна 793 кг/м3.
Данный аппарат желательно изготавливать из нержавеющей стали или железа. Все детали изготовлены из труб, в качестве тонких соединительных труб можно использовать медные трубки. В холодильнике необходимо сохранить соотношение X:Y=4, то есть, например, если X+Y=300 мм, то X должно быть равно 240 мм, а Y, соответственно, 60 мм. 240/60=4. Чем больше витков уместится в холодильнике с той и с другой стороны, тем лучше. Все краники применены от газосварочных горелок. Вместо краников (9) и (11) можно использовать редукционные клапана от бытовых газовых баллонов или капиллярные трубки от бытовых холодильников. Смеситель (1) и реактор (2) нагреваются в горизонтальном положении (смотрите чертеж).






Ссылки на схожие материалы:
|