|
Смастерив себе мини-тестер, вот уже несколько лет пользуюсь им при ремонте бытовой электро- и радиотехники
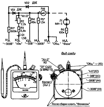
Собранный по классической схеме, прибор позволяет с достаточной для практики точностью измерять напряжения до 300 В в цепях постоянного и переменного тока, проверять резисторы, диоды, транзисторы и конденсаторы.
Для изготовления такого мини-тестера требуется небольшое количество радиодеталей, причем ни одна из них к разряду дорогих и остродефицитных не относится. Они всегда, что называется, под рукой, их можно легко найти в запасе у любого радиолюбителя. А в качестве несущей конструкции, монтажной платы и корпуса прибора используется... сама измерительная головка М42100 (или аналогичного типа), рассчитанная на измерение постоянного напряжения 3 или 30 В.
Миниатюрные гнезда устанавливаются на корпусе головки. Здесь же "посадочные места" под винт М3 (на нем крепится щуп "Общ."), переменный резистор R2 "Уст.О" и фонарь ФРМ-1, выступающий в роли футляра для источника электропитания типа СЦ32, СЦ21 и т.п. При желании в прибор можно добавить индикатор фазы (на схеме показан пунктиром) - внутри головки места вполне хватает.
Шкала "-30 В" базовая, берется готовой. По ней осуществляется привязка делений в диапазоне с верхним пределом "-300 В". А для измерения переменных напряжений (из-за нелинейности начального участка), как и для измерения сопротивлений, желательно иметь дополнительные шкалы. Они градуируются по методикам, которые достаточно подробно излагаются в популярной литературе.
Стекло в тестере желательно заменить пластинкой из оргстекла - не разобьется при ударах и падениях прибора.

Принципиальная электрическая схема самодельного мини-тестера
Ссылки на схожие материалы:
|