|
Как сделать самодельный мотокульниватор. К земле-кормилице обращают сейчас свой взор многие. Однако, заполучив свой надел, иные сталкиваются с проблемой: чем же его обрабатывать? Без надежного мотопомощника целину не поднимешь, но у большинства возможности для его приобретения или самостоятельного изготовления — более чем скромные.
Все эти условия были учтены кружковцами Ишимской станции юных техников, которые разработали и сделали простейший самодельный мотокультиватор. У него — несложная и, следовательно, надежная кинематика. Силовым агрегатом мотокультиватора является относительно дешевый и распространенный мотовелосипедный двигатель Д8.
Это одноцилиндровый двухтактный карбюраторный мотор с кривошипно-камерной продувкой. Чтобы максимально приспособить двигатель для мотокультиватора, пришлось выполнить небольшие, но оказавшиеся весьма ценными доработки. В частности, довольно просто произведена замена воздушного охлаждения на жидкостное: к цилиндру двигателя с проточенными до выхлопного патрубка ребрами охлаждения прикреплена подходящая по габаритам емкость — двухлитровая консервная банка.
Сверху в зазор между цилиндром и емкостью вставлен ограничитель выплескивания воды, которым с успехом служит проволочная «путанка» — в хозяйственных магазинах такая продается как металлическая мочалка для мытья посуды. Система охлаждения испарительного типа: пока вся вода из банки не выкипит, температура цилиндра не поднимется выше 100°С. Надо лишь своевременно доливать воду, и тревожиться за перегрев двигателя не придется.
Существенной проблемой при наличии такой системы охлаждения становится надежная работа зажигания — в частности свечи. Ведь штатная в таких условиях работать не будет. Нужно установить новую — водозащитную, экранированную. Как нельзя лучше подходит здесь свеча зажигания от двигателя автомашины ЗИЛ-131. Запуск двигателя Д8 на мотокультиваторе осуществляется так же, как, например, на бензопиле.
Рывком руки приводится в движение специальный трос, зацепленный за маховик и навитый на его шкив. Маховик (а вместе с ним и коленчатый вал) раскручивается, и двигатель заводится. Обороты двигателя регулируются ручкой «газа», а также заслонкой воздухозаборника. Последний вынесен от карбюратора наверх — к топливному баку при помощи резинового шланга. Дело в том, что при штатном расположении воздухозаборника его фильтр практически невозможно защитить от чрезмерно быстрого засорения во время работы фрезы-окучника.
Трансмиссия мотокультиватора представляет собой двухступенчатый цепной редуктор. Две звездочки редуктора, имеющие по 10 зубьев, — от двигателя Д6. В качестве звездочки z = 48 применена ведущая звездочка от велосипеда «Урал», а на рабочем валу—ведомая звездочка заднего колеса мопеда «Вер-ховина». Все они предназначены для работы вместе с приводной роликовой однорядной цепью ПР-12,7. В мотокультиваторе используются усиленные цепи также с шагом 12,7 мм — от мотоцикла «Восход». Обе ступени редуктора выполнены закрытыми.
При этом обеспечиваются требования безопасности при работе агрегата, практически полностью исключается возможность попадания в отсеки с цепной передачей пыли и грязи, а также существенно упрощается вся конструкция с одновременным увеличением ее жесткости. Ведь в качестве основного несущего элемента в мотокультиваторе выступает прочный и жесткий корпус второй ступени цепного редуктора, сваренный из листовой стали толщиной 3 мм.
Он относительно невелик при достаточно толстых стенках, что придает ему повышенную прочность. К тому же размещение узлов и деталей таково, что не ослабляет, а усиливает всю конструкцию. Верхняя часть корпуса редуктора закрывается крышкой из стального листа толщиной 3 мм. При этом крепежные болты Мб фиксируются в четырех приваренных по углам гнездах. Надо отметить, что крышка существенно облегчает сборку узла промежуточного вала, через нее удобно заливать масло и следить за степенью натяжения цепи. Натяжной ролик располагается в верхней части корпуса редуктора и крепится на правой стенке.
Устроен он достаточно просто и в чертежах не показан. В средней части корпуса редуктора приварен на двух косынках универсальный кронштейн для двигателя и топливного бака. В косынках между корпусом и кронштейном просверлено отверстие диаметром 10 мм для крепления ручек управления мотокультиватором.
Сам кронштейн изготовлен из стальной трубы. Радиус кривизны — по двигателю. У нижней части корпуса свои особенности. Впереди по ходу агрегата двумя болтами М6 привертывается закрывающая прямоугольное отверстие полукруглая крышка, предназначенная для облегчения сборки редуктора (монтажа узла рабочего вала), а также его ремонта или замены изношенных деталей. Для этих же целей служит круглое отверстие, расположенное справа по ходу движения.
Закрывается оно фланцем, на котором к тому же крепится подшипниковый узел. На противоположной стенке редуктора закреплен второй подшипниковый узел рабочего вала. Для достижения герметизации нижней части корпуса трансмиссии необходимо установить уплотни- тельные прокладки (на чертеже они условно не показаны). Устройство остальных деталей и узлов достаточно полно показано на рисунках. Следует лишь добавить, что валы выполнены из заготовок, полученных при разборке старых электродвигателей. Впрочем, как и шпонки, болты и другие элементы крепежа.
Упорные кольца нарезаны из стальных труб соответствующего сортамента. При этом определяющим выступал не наружный, а внутренний диаметр трубы и толщина ее стенки. Промежуточный и рабочий валы установлены на шариковых радиальных однорядных подшипниках с уплотнением (по ГОСТ 8882-75). Корпуса для них подобраны готовые — от списанной сельхозтехники. От списанных сельхозмашин позаимствованы и ступицы с рабочими элементами для фрезы.
Разумеется, можно сделать их и самостоятельно, в соответствии с чертежами, где указаны все необходимые размеры. Сама фреза несколько отличается от тех, что используются на серийных мотокультиваторах. Она не столь громоздка и легко выполнима в домашней мастерской. Состоит она из двух абсолютно одинаковых узлов, закрепленных на концах рабочего вала, смещенных друг относительно друга по оси на 45°. Каждый из таких узлов собирается из обычной втулки-ступицы, к фланцу которой прикрепляются по четыре своеобразных «микротяпки».
Их режущие части представляют собой острозаточенные сегменты от хорошо знакомой всем жатки СНЖ-Ф-1, приваренные к стойке под углом 110°. Если таких сегментов под рукой вдруг не окажется — не беда. Из лемешной листовой стали (например, Л-80) их можно изготовить самостоятельно. После закалки они ничуть не уступят заводским. Ручки управления мотокультиватором выгнуты и сварены из стальных труб с внешним диаметром 22 мм.
На трубы такого диаметра легко надеваются мотоциклетные рычаг сцепления и поворотная рукоятка «газа». Тросы управления идут от них непосредственно к рычагу муфты сцепления и к дроссельной заслонке карбюратора двигателя. Противоположные концы труб расплющены, и в них просверлены отверстия диаметром 10 мм для крепления к мотокультиватору в месте, где в косынках имеется ответное отверстие между корпусом трансмиссии и кронштейном, о чем упоминалось ранее. Рукоятки управления соединены между собой приваренной к ним перемычкой.
От перемычки идет вниз подкос, накрепко зажатый одним из болтов крепления подшипникового узла промежуточного вала. Конечно, лучше всего собирать сразу универсальный агрегат, позволяющий не только тщательно рыхлить землю, успешно работать на прополке, окучивании и выкапывании корнеплодов, но и перевозить грузы.
Сделать из мотокультиватора мотобуксировщик не столь уж сложно. Надо только приварить сзади к корпусу редуктора разъемный шарнир, поставить рабочий вал вместо фрезы на колеса и прицепить оборудованную тормозом тележку. Вариант такой модернизации — на одном из рисунков.

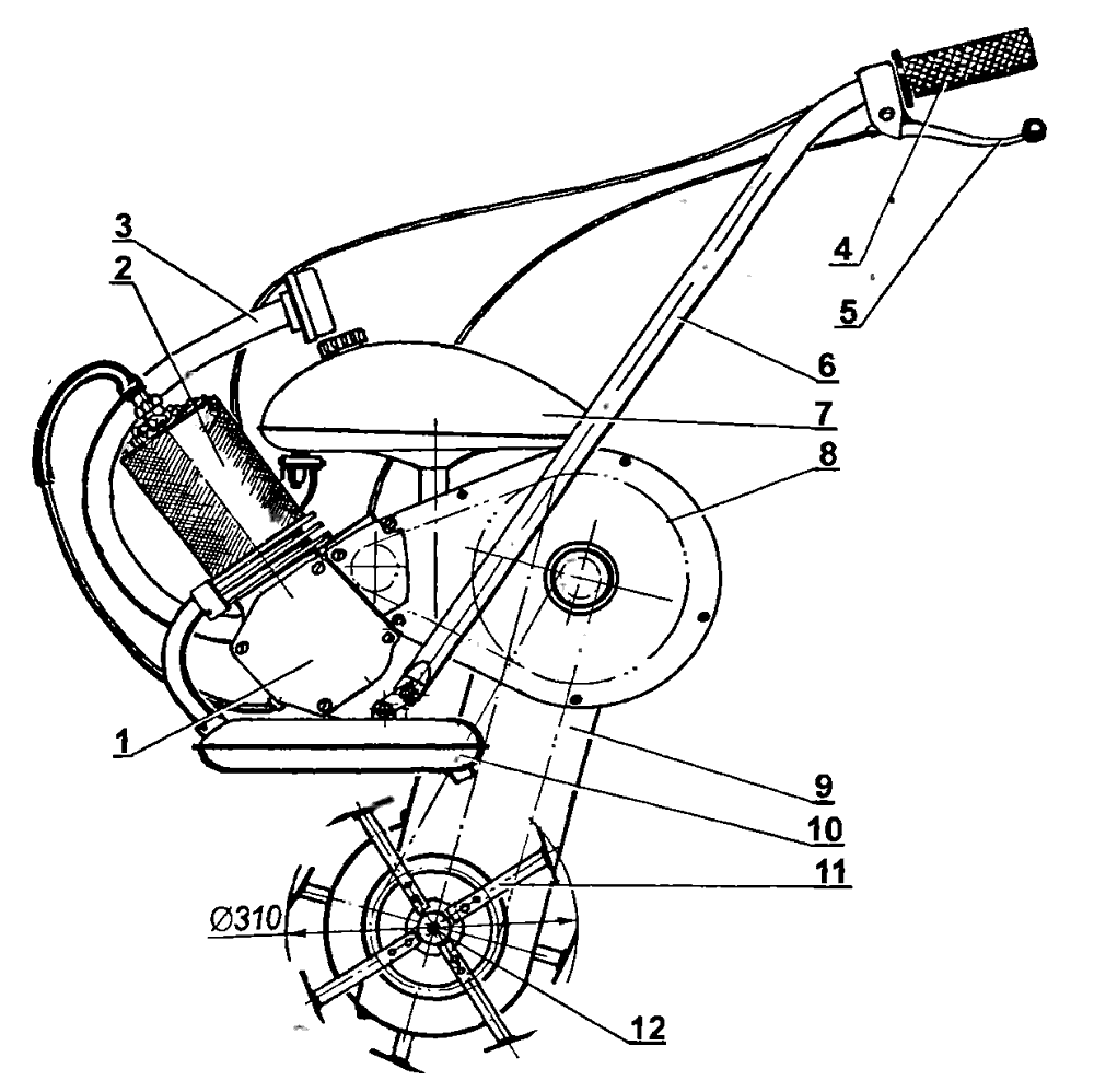
Мотокультиватор на базе двигателя Д8 с объемной фрезой: 1 — двигатель; 2 — емкость испарительной системы охлаждения; 3 — воздухозаборник карбюратора с воздушным фильтром; 4 — ручка управления дроссельной заслонкой карбюратора (на правой рукоятке); 5 — рычаг управления муфтой сцепления двигателя (на левой рукоятке); 6 — ручки управления мотокультиватором; 7 — топливный бак; 8 — первая ступень цепного редуктора; 9 — вторая ступень цепного редуктора; 10 —глушитель; 11 — объемная фреза-окучник; 12— рабочий вал

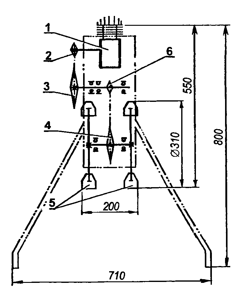
Кинематическая схема мотокультиватора: 1— двигатель типа Д8 (мощность — 1,1 л.с, частота вращения коленвала — 4500 об./мин); 2 — выходная звездочка двигателя z = 10); 3 — большая звездочка промежуточного вала (z = 48); 4 — звездочка рабочего вала (z = 37); 5 — фреза-окучник; 6 — малая звездочка промежуточного вала (z = 10)

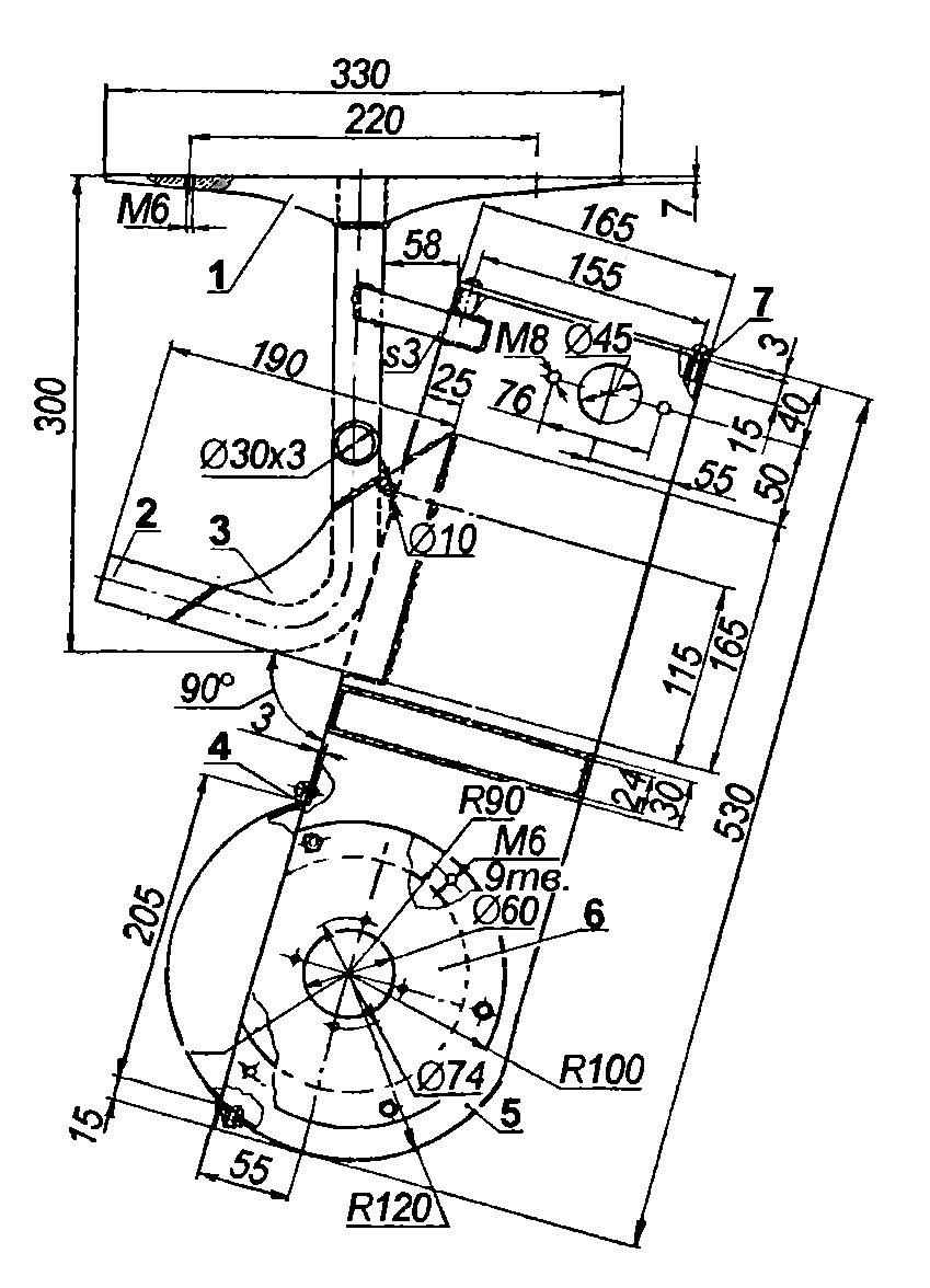
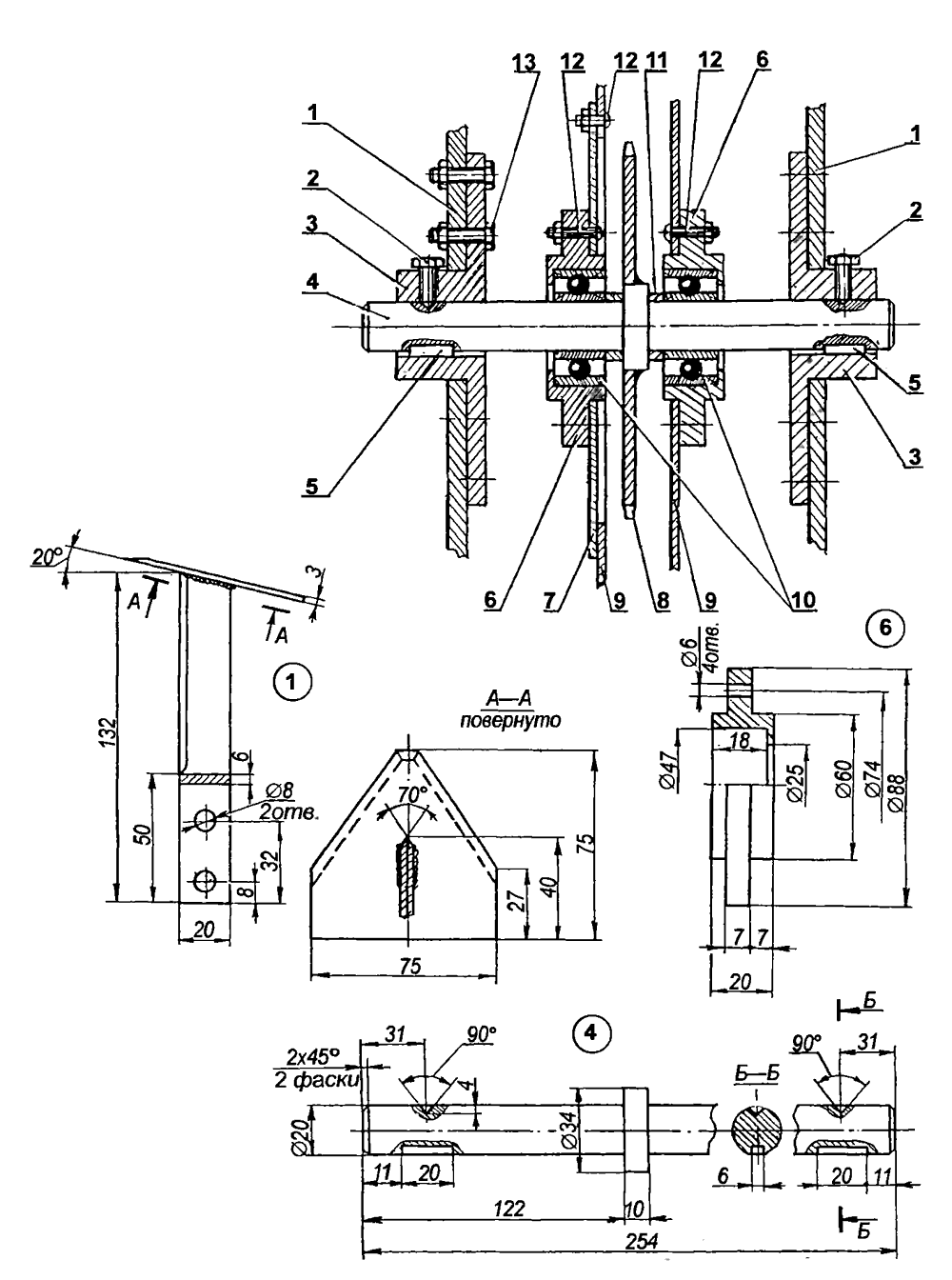
Корпус второй ступени цепного редуктора: 1 — кронштейн под бак; 2 — кронштейн под двигатель (стальная труба 30x3, радиус кривизны — по двигателю); 3 — косынка (2 шт.); 4 — полукруглая крышка; 5 — коробчатый корпус; 6 — накладной фланец; 7 — верхняя крышка (СтЗ); материал деталей 3,4,5,6 и 7 — Ст.З, лист толщиной 3 мм

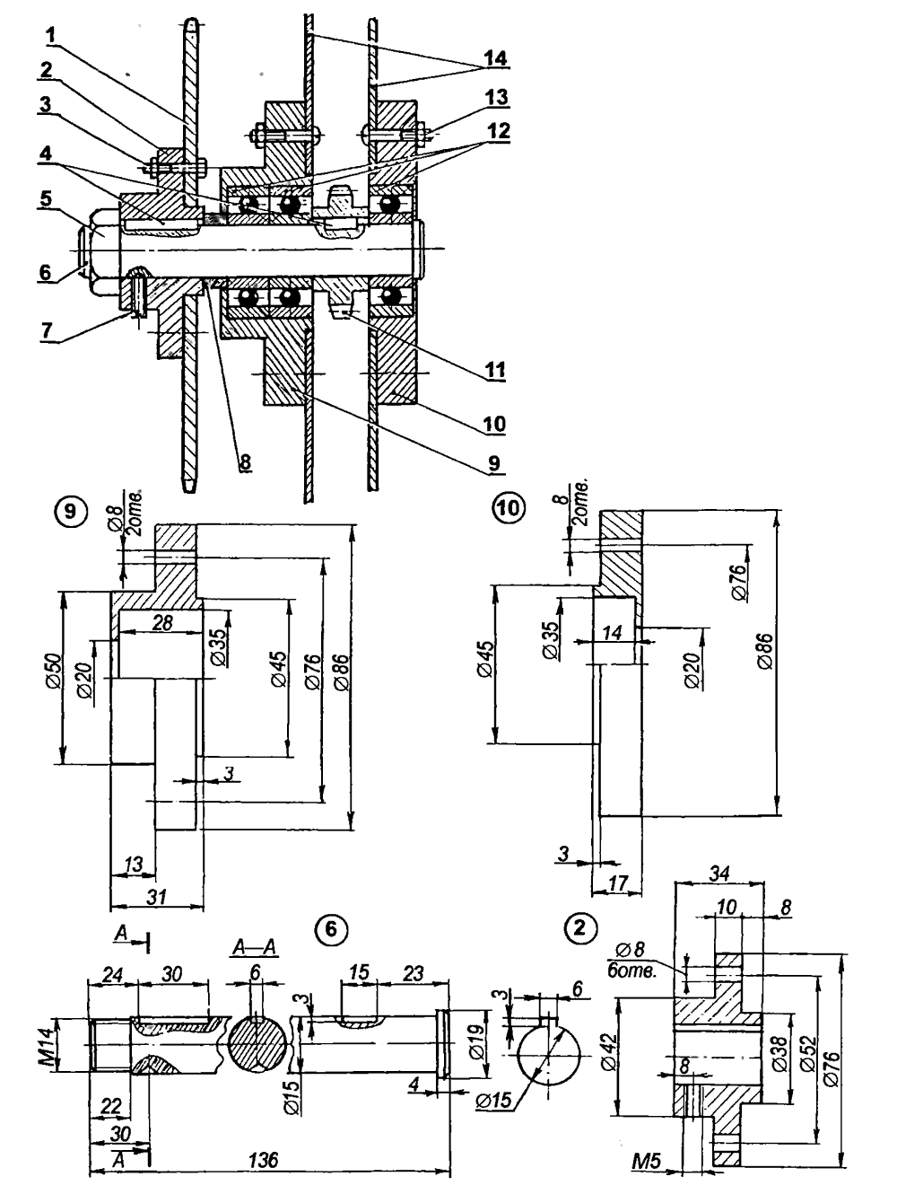
Промежуточный вал в сборе: 1 — звездочка (z = 48); 2 — ступица; 3 — болт М8 с гайками (6 шт.); 4 — призматические шпонки; 5 — гайка М14; 6 — промежуточный вал; 7 — винт М5; 8 — упорное кольцо; 9 — корпус левого подшипникового узла; 10 — корпус правого подшипникового узла; 11 —звездочка (z = 10); 12 — подшипники 60502; 13 — болты М8 с гайками (4 шт.); 14 — стенки корпуса второй ступени трансмиссии
 
Рабочий вал в сборе: 1 — рабочий элемент фрезы (8 шт.); 2 — стопорный винт (М8, 2 шт.); 3 — ступица фрезы (2 шт.); 4 — рабочий вал; 5 — шпонка призматическая (2 шт.); 6 — корпус подшипникового узла (2 шт.); 7 — фланец; 8 — звездочка (z = 37); 9 — стенки нижней части корпуса второй ступени редуктора; 10 — подшипники 160504; 11 —упорные кольца; 12 — болты М6 с гайками; 13 — болты М8 с гайками (16 шт.)

Мотогрузовичок на базе мотокультиватора: 1 — мотокультиватор; 2 — ведущие колеса (монтируются на рабочий вал вместо фрез); 3 — горизонтальный и вертикальный шарниры; 4 — сиденье водителя; 5 — кузов (собирается из фанеры толщиной 10 мм и дюралюминиевых уголков); 6 — задние колеса; 7 — рама (А-образная, из стальных труб)
Ссылки на схожие материалы:
|